Хеди Ламарр - красивая женщина с красивой судьбой
Оригинал взят у
nickmix01 в Хеди Ламарр - красивая женщина с красивой судьбой
Хеди Ламарр это сценический псевдоним необыкновенной, удивительно красивой женщины. Сегодня она не очень хорошо известна как актриса и еще меньше как ученый. Красивая и умная - она не так хорошо известна как та же Грета Гарбо или Марлен Дитрих, но от этого она еще больше заслуживает внимания.
Она была настоящей женщиной - много любила и была шесть раз замужем, много снималась 40-е гг. и имела большой успех у публики, а выбор Сесилом де Миллем на роль Далилы в "Самсон и Далила" уже говорит о многом.
Настоящее имя Хеди Ламарр - Эдвига Ева Мария Кислер.
Она родилась 9 ноября 1914 года в Вене, знак зодиака - Скорпион (говорят, что она идеально соответствовала по характеру и внешнему облику всем характеристикам этого знака. не знаю - я в этом полный профан).
Дочь Эмиля и Гертруды, управляющего банка и пианистки, она по рождению принадлежала к верхней прослойке среднего класса, еврейка - в то время это еще не было такой жуткой печатью в биографии жителя Австрии, как стало 20 лет спустя, получила хорошее гимназическое образование и с детства славилась красотой,занималась в театральной школе и в 15 лет снялась в своем дебютном фильме - «Девушка в ночном клубе».
Закончив среднюю школу, она поступила на инженерный факультет университета, где была одной из лучших (а также одной из немногих девушек), но встреча с Максом Рейнхартом - известным режиссером театра и кино, заставила изменить Эдвигу свои планы и переехать в Берлин, чтобы стать звездой театра Рейнхарта. Макс Райнхарт, с которым она работала в Берлине, назвал юную Хеди самой красивой женщиной в Европе.Тут кто-то вспомнит про то, что Рейнхарт тоже был еврей, ну так чтож, все люди, все люди и помогать своим соплеменникам, тем более красивым и талантливым - это правильно.
Удивительно здесь другое - как родители решили отпустить дочь в другой город, в другую страну? Может быть это Гертруда - артистическая натура, а может прагматик Эмиль, но дело было сделано и первый шаг к успеху Хеди был совершен.
Она сыграла несколько ролей в кино и театре, но они прошли незаметно для публики, и это продолжалось до тех пор, пока она не снялась в 1933 году в роли Евы в фильме Густава Махаты "Экстаз" - одном из первых фильмов, как мы бы сейчас сказали, категории "А", в котором была обнаженная натура. Фильм получил на 2-ом Венецианском кинофестивале приз Муссолини за лучшую кинорежиссуру, а Хеди - известность, хотя и скандальную.Содержание фильма:
Главная героиня фильма Эва только что вышла замуж за пожилого человека - Эмиля. Вскоре после свадьбы Эва выясняет, что ее муж помешан на порядке в доме, более того, он - импотент. Ее брак остается неполноценным; она в отчаянии, ее жизнь тосклива. Эва оставляет мужа, бежит в дом отца и подает на развод. Развод она не получает.
Ее отец конезаводчик и она часто совершает поездки на лошадях и купается нагишом в озере. Однажды, во время одного из купаний, лошадь убегает с ее одеждой. И она, обнаженная, пытается ее поймать ее видит молодой инженер Адам (прораб на строительстве железной дороги), живущий по соседству. Адам ловит лошадь. Увидев это, она прячется в кусты, где Адам найдет ее. Сначала Ева стыдится своей наготы, но потом смотрит на него с вызовом. Адам дает ей обратно ее одежду. Когда она пытается уйти, она ранит ногу. Сначала она сопротивляется его попыткам оказать помощь, но потом сдается.
Они знакомятся и почти моментально влюбляются. Их неотвратимо влечет друг к другу, и однажды, во время грозы, Эва прибегает к молодому человеку и они начинают заниматься любовью. Камера крупным планом показывает глаза Эвы, полные экстаза, когда она наконец достигает оргазма. Она забывает взять свое жемчужное ожерелье с собой на следующее утро. Когда она возвращается домой, она обнаруживает нежелательного посетителя - бывшего мужа, который ждал ее всю ночь. Он пытается помириться с ней, но она говорит ему, что это слишком поздно. Он уходит. Муж Эвы безутешен, он и не надеется на восстановление брака.
По воле случая, в поездке он встречает своего соперника. Адам показывает ему стройку и предлагает подвезти до города. По пути, он показывает, ожерелье, которое Эмиль узнаёт.
И тут сильный момент - вечером Эмиль сидит в одиночестве в гостиничном номере, в то время как муха пытается тщетно выйти через закрытое окно, а другие мухи уже пойманы в ловушку-липучку. Внизу, Адам и Ева танцуют, Эмиль стреляет в себя. Адам не знает о браке между Эмилем и Ева, и она не говорит ему. Молодая пара собирается сесть на поезд в Берлин. Во время ожидания на вокзале, Адам засыпает, и обезумевший Ева садится на другой поезд без него. Печальный Адам возвращается к своей работе. Ева показано счастливой с ребенком на руках.
История самого фильма и его судьбы интересна, так что тут я процитирую информацию с cinemaabout.ru "Рекламный слоган фильма «Экстаз» — «Самый скандальный в мире фильм».
Этой характеристики фильм удостоился за наличие в нем сцены купания обнаженной героини и крупного плана лица Эвы в минуту оргазма. С момента выхода в свет фильм стал объектом цензуры.
В 1934 г. итальянский лидер Бенито Муссолини отменил национальный закон о цензуре, чтобы разрешить демонстрацию картины на Венецианском кинофестивале, однако Ватикан выразил яростный протест, что, по мнению критиков, могло стоить фильму приза. В 1935 г. попытка дистрибьютора Сэмьюэла Камминса привезти фильм в США не удалась: на границе его изъяли, сославшись на таможенный закон 1930 г., который разрешал конфискацию любого материала, расцененного как непристойный, не дожидаясь решения суда. Конфискация фильма «Экстаз» — первый случай, когда законы таможни были применены для предотвращения ввоза картины в США.
Адвокаты со стороны дистрибьютора подали иск в Окружной суд второй инстанции Нью-Йорка (дело «США против компании Two Tin Boxes (1935)»), который решил, что этот фильм «аморальный» и «непристойный». Дистрибьютор обжаловал это решение, однако еще до рассмотрения апелляции судебные приставы сожгли пленку. Оставшись без вещественного доказательства, суд отклонил апелляцию. Тогда дистрибьютор привез в страну еще одну копию фильма и внес некоторые изменения: удалил вызвавшие ранее протест сцены (обнаженная Эва бежит через лес; спаривание лошадей) и добавил текст за кадром, объявлявший о разводе Эвы до ее романа с инженером. Финал фильма тоже изменился: был показан ребенок — намек на то, что Эва и инженер поженились. В 1937 г. работники американской таможни разрешили ввоз этой версии картины в страну, однако Комиссия Нью-Йорка по просмотрам отказалась выдать лицензию на ее демонстрацию. Адвокаты дистрибьютора подали ходатайство в Окружной суд США Южного округа Нью-Йорка с просьбой запретить властям Нью-Йорка препятствовать демонстрации фильма. В жалобе было сказано, что отказ городских властей выдать разрешение не что иное, как «покушение на федеральную власть в отношении внешней торговли и нарушение Конституции (статья 1, параграф 8)», так как «федеральные власти разрешили ввоз фильма, определив, что он не является аморальным» в соответствии с Таможенным законом 1930 г. Таким образом, «власти штата не могут запретить демонстрацию фильма в штате после того, как она уже имела место». Суд отклонил ходатайство (дело «Компания Eureka Productions против Бирна (1937)»).
После этого компания Eureka Productions подала апелляцию в Апелляционный суд США второй инстанции, однако тот отказался удовлетворить иск и постановил, что, как только фильм оказывается на территории Соединенных Штатов, в отношении него вступают в действие местные законы о цензуре. В течение нескольких лет «Экстаз» демонстрировался по всей стране в рамках ограниченных показов в специальных кинотеатрах, однако разрешение от Администрации контроля за соблюдением правил производства кинопродукции получил лишь в 1940 г., и то лишь после того, как дистрибьютор вырезал все сцены с обнаженной натурой. Даже после этого в нескольких штатах отказались демонстрировать картину, потребовав вырезать еще несколько сцен. По словам Джеральда Гарнера, в Массачусетсе отказались показывать фильм по воскресеньям, а в Пенсильвании запретили «вообще». В штате Мэриленд в конце концов разрешили демонстрацию фильма, однако после того, как сократили множество сцен: сцену, где обнаженная Эва бежит по лесу; кадры, где показана ее грудь во время плавания; эпизод, где ее муж держит коробку презервативов; все сцены, где молодая жена в ожидании лежит в постели; кадры, где ее муж принимает средство для повышения потенции и в которых обнаженная Эва бежит за лошадью. Эта картина стала одним из немногих зарубежных фильмов, получивших класс «С» (запрещен) от Общества добродетельных католиков."
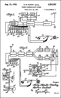
В 1952 году в Италии Сандро Де Фео в статье в Europeo написал "Я никогда не видел фильмов, где сцена соития была бы более явной и тревожной, а женщина, такой красивой". В том же, 1933 году, Хеди выходит замуж (или вынуждена выйти для того, чтобы заставить замолчать сплетни, кто знает) за промышленника Фрица Мандла, который страшно ревновал ее, старался скупить все копии фильма.Он также пытается запретить жене продолжить свою актерскую карьеру, но вы понимаете, что это для актрисы... Она мирилась с этим до 1937 года. О жизни в браке Хеди говорила: "Может быть, моя проблема в браке, и это проблема многих женщин в том, что хотим, чтобы была и близость, что независимость. И трудно достичь баланса, так как они оба важны для брака ". Брак для Хеди не был скучен (мы же помним о ее успехах и тяге к технике) - муж был производителем оружия и в это время его фирма занималась поиском способов радиоуправления ракетами. Эта тема интересовала Хеди. И к ней мы еще вернемся. Когда ее муж, не смотря на то что он был еврей, подписал соглашение с Гитлером о поставке оружия и сырья, она выступила против этого шага и войны, уходит от него и находит убежище в Англии. Ее побег из дома во многом похож на сцену из фильма - она ночью, переодевшись в служанку, обманывает охрану покидает опостылевшее жилье. В Англии она встречает некоего господина Луиса Б. Майера - владельца MGM, знаменитый американский киностудии 30-40-х годов. Она заключает контракт и с новым именем - Хеди Ламарр уезжает в Америку. Кто-то скажет повезло. Может быть. Она писала "Джек Кеннеди всегда говорил мне, Хеди, участвуй. В этом и заключается секрет жизни. Попробуй все. Наслаждайся всем. Встречайся с людьми". Она следовала этому совету и пришла к успеху. В США она снялась в 25 фильмах с 1938 по 1958 год. ей везло с партнерами - Кларк Гейбл, Джеймс Стюарт, Спенсер Трейси и Джуди Гарланд, и ведь это не полный список звезд кино того времени, с которыми ей удалось поработать.
Её красота сыграла с ней злую шутку - ей не доставалось то количество ролей, которые она могла бы сыграть - ее образ выбивался из общего ряда красивых девушек - Хеди не выглядела продавщицей, соседской девчонкой. Но эти пробелы, сложно сказать "неудачи", она восполняла своими изобретательскими талантами. Про это очень мило написано в Вики.


В ее жизни было много судов, много грязи, но думаю по них не стоит говорить, а кого это заинтересует - тот всегда найдет такую гадость.
Давайте просто посмотрим на неё и запомним ее красоту.
















Хеди Ламарр - красивая женщина с красивой судьбой
Хеди Ламарр это сценический псевдоним необыкновенной, удивительно красивой женщины. Сегодня она не очень хорошо известна как актриса и еще меньше как ученый. Красивая и умная - она не так хорошо известна как та же Грета Гарбо или Марлен Дитрих, но от этого она еще больше заслуживает внимания.
Она была настоящей женщиной - много любила и была шесть раз замужем, много снималась 40-е гг. и имела большой успех у публики, а выбор Сесилом де Миллем на роль Далилы в "Самсон и Далила" уже говорит о многом.
Настоящее имя Хеди Ламарр - Эдвига Ева Мария Кислер.
Она родилась 9 ноября 1914 года в Вене, знак зодиака - Скорпион (говорят, что она идеально соответствовала по характеру и внешнему облику всем характеристикам этого знака. не знаю - я в этом полный профан).
Дочь Эмиля и Гертруды, управляющего банка и пианистки, она по рождению принадлежала к верхней прослойке среднего класса, еврейка - в то время это еще не было такой жуткой печатью в биографии жителя Австрии, как стало 20 лет спустя, получила хорошее гимназическое образование и с детства славилась красотой,занималась в театральной школе и в 15 лет снялась в своем дебютном фильме - «Девушка в ночном клубе».
Закончив среднюю школу, она поступила на инженерный факультет университета, где была одной из лучших (а также одной из немногих девушек), но встреча с Максом Рейнхартом - известным режиссером театра и кино, заставила изменить Эдвигу свои планы и переехать в Берлин, чтобы стать звездой театра Рейнхарта. Макс Райнхарт, с которым она работала в Берлине, назвал юную Хеди самой красивой женщиной в Европе.Тут кто-то вспомнит про то, что Рейнхарт тоже был еврей, ну так чтож, все люди, все люди и помогать своим соплеменникам, тем более красивым и талантливым - это правильно.
Удивительно здесь другое - как родители решили отпустить дочь в другой город, в другую страну? Может быть это Гертруда - артистическая натура, а может прагматик Эмиль, но дело было сделано и первый шаг к успеху Хеди был совершен.
Она сыграла несколько ролей в кино и театре, но они прошли незаметно для публики, и это продолжалось до тех пор, пока она не снялась в 1933 году в роли Евы в фильме Густава Махаты "Экстаз" - одном из первых фильмов, как мы бы сейчас сказали, категории "А", в котором была обнаженная натура. Фильм получил на 2-ом Венецианском кинофестивале приз Муссолини за лучшую кинорежиссуру, а Хеди - известность, хотя и скандальную.Содержание фильма:
Главная героиня фильма Эва только что вышла замуж за пожилого человека - Эмиля. Вскоре после свадьбы Эва выясняет, что ее муж помешан на порядке в доме, более того, он - импотент. Ее брак остается неполноценным; она в отчаянии, ее жизнь тосклива. Эва оставляет мужа, бежит в дом отца и подает на развод. Развод она не получает.
Ее отец конезаводчик и она часто совершает поездки на лошадях и купается нагишом в озере. Однажды, во время одного из купаний, лошадь убегает с ее одеждой. И она, обнаженная, пытается ее поймать ее видит молодой инженер Адам (прораб на строительстве железной дороги), живущий по соседству. Адам ловит лошадь. Увидев это, она прячется в кусты, где Адам найдет ее. Сначала Ева стыдится своей наготы, но потом смотрит на него с вызовом. Адам дает ей обратно ее одежду. Когда она пытается уйти, она ранит ногу. Сначала она сопротивляется его попыткам оказать помощь, но потом сдается.
Они знакомятся и почти моментально влюбляются. Их неотвратимо влечет друг к другу, и однажды, во время грозы, Эва прибегает к молодому человеку и они начинают заниматься любовью. Камера крупным планом показывает глаза Эвы, полные экстаза, когда она наконец достигает оргазма. Она забывает взять свое жемчужное ожерелье с собой на следующее утро. Когда она возвращается домой, она обнаруживает нежелательного посетителя - бывшего мужа, который ждал ее всю ночь. Он пытается помириться с ней, но она говорит ему, что это слишком поздно. Он уходит. Муж Эвы безутешен, он и не надеется на восстановление брака.
По воле случая, в поездке он встречает своего соперника. Адам показывает ему стройку и предлагает подвезти до города. По пути, он показывает, ожерелье, которое Эмиль узнаёт.
И тут сильный момент - вечером Эмиль сидит в одиночестве в гостиничном номере, в то время как муха пытается тщетно выйти через закрытое окно, а другие мухи уже пойманы в ловушку-липучку. Внизу, Адам и Ева танцуют, Эмиль стреляет в себя. Адам не знает о браке между Эмилем и Ева, и она не говорит ему. Молодая пара собирается сесть на поезд в Берлин. Во время ожидания на вокзале, Адам засыпает, и обезумевший Ева садится на другой поезд без него. Печальный Адам возвращается к своей работе. Ева показано счастливой с ребенком на руках.
История самого фильма и его судьбы интересна, так что тут я процитирую информацию с cinemaabout.ru "Рекламный слоган фильма «Экстаз» — «Самый скандальный в мире фильм».
Этой характеристики фильм удостоился за наличие в нем сцены купания обнаженной героини и крупного плана лица Эвы в минуту оргазма. С момента выхода в свет фильм стал объектом цензуры.
В 1934 г. итальянский лидер Бенито Муссолини отменил национальный закон о цензуре, чтобы разрешить демонстрацию картины на Венецианском кинофестивале, однако Ватикан выразил яростный протест, что, по мнению критиков, могло стоить фильму приза. В 1935 г. попытка дистрибьютора Сэмьюэла Камминса привезти фильм в США не удалась: на границе его изъяли, сославшись на таможенный закон 1930 г., который разрешал конфискацию любого материала, расцененного как непристойный, не дожидаясь решения суда. Конфискация фильма «Экстаз» — первый случай, когда законы таможни были применены для предотвращения ввоза картины в США.
Адвокаты со стороны дистрибьютора подали иск в Окружной суд второй инстанции Нью-Йорка (дело «США против компании Two Tin Boxes (1935)»), который решил, что этот фильм «аморальный» и «непристойный». Дистрибьютор обжаловал это решение, однако еще до рассмотрения апелляции судебные приставы сожгли пленку. Оставшись без вещественного доказательства, суд отклонил апелляцию. Тогда дистрибьютор привез в страну еще одну копию фильма и внес некоторые изменения: удалил вызвавшие ранее протест сцены (обнаженная Эва бежит через лес; спаривание лошадей) и добавил текст за кадром, объявлявший о разводе Эвы до ее романа с инженером. Финал фильма тоже изменился: был показан ребенок — намек на то, что Эва и инженер поженились. В 1937 г. работники американской таможни разрешили ввоз этой версии картины в страну, однако Комиссия Нью-Йорка по просмотрам отказалась выдать лицензию на ее демонстрацию. Адвокаты дистрибьютора подали ходатайство в Окружной суд США Южного округа Нью-Йорка с просьбой запретить властям Нью-Йорка препятствовать демонстрации фильма. В жалобе было сказано, что отказ городских властей выдать разрешение не что иное, как «покушение на федеральную власть в отношении внешней торговли и нарушение Конституции (статья 1, параграф 8)», так как «федеральные власти разрешили ввоз фильма, определив, что он не является аморальным» в соответствии с Таможенным законом 1930 г. Таким образом, «власти штата не могут запретить демонстрацию фильма в штате после того, как она уже имела место». Суд отклонил ходатайство (дело «Компания Eureka Productions против Бирна (1937)»).
После этого компания Eureka Productions подала апелляцию в Апелляционный суд США второй инстанции, однако тот отказался удовлетворить иск и постановил, что, как только фильм оказывается на территории Соединенных Штатов, в отношении него вступают в действие местные законы о цензуре. В течение нескольких лет «Экстаз» демонстрировался по всей стране в рамках ограниченных показов в специальных кинотеатрах, однако разрешение от Администрации контроля за соблюдением правил производства кинопродукции получил лишь в 1940 г., и то лишь после того, как дистрибьютор вырезал все сцены с обнаженной натурой. Даже после этого в нескольких штатах отказались демонстрировать картину, потребовав вырезать еще несколько сцен. По словам Джеральда Гарнера, в Массачусетсе отказались показывать фильм по воскресеньям, а в Пенсильвании запретили «вообще». В штате Мэриленд в конце концов разрешили демонстрацию фильма, однако после того, как сократили множество сцен: сцену, где обнаженная Эва бежит по лесу; кадры, где показана ее грудь во время плавания; эпизод, где ее муж держит коробку презервативов; все сцены, где молодая жена в ожидании лежит в постели; кадры, где ее муж принимает средство для повышения потенции и в которых обнаженная Эва бежит за лошадью. Эта картина стала одним из немногих зарубежных фильмов, получивших класс «С» (запрещен) от Общества добродетельных католиков."
В 1952 году в Италии Сандро Де Фео в статье в Europeo написал "Я никогда не видел фильмов, где сцена соития была бы более явной и тревожной, а женщина, такой красивой". В том же, 1933 году, Хеди выходит замуж (или вынуждена выйти для того, чтобы заставить замолчать сплетни, кто знает) за промышленника Фрица Мандла, который страшно ревновал ее, старался скупить все копии фильма.Он также пытается запретить жене продолжить свою актерскую карьеру, но вы понимаете, что это для актрисы... Она мирилась с этим до 1937 года. О жизни в браке Хеди говорила: "Может быть, моя проблема в браке, и это проблема многих женщин в том, что хотим, чтобы была и близость, что независимость. И трудно достичь баланса, так как они оба важны для брака ". Брак для Хеди не был скучен (мы же помним о ее успехах и тяге к технике) - муж был производителем оружия и в это время его фирма занималась поиском способов радиоуправления ракетами. Эта тема интересовала Хеди. И к ней мы еще вернемся. Когда ее муж, не смотря на то что он был еврей, подписал соглашение с Гитлером о поставке оружия и сырья, она выступила против этого шага и войны, уходит от него и находит убежище в Англии. Ее побег из дома во многом похож на сцену из фильма - она ночью, переодевшись в служанку, обманывает охрану покидает опостылевшее жилье. В Англии она встречает некоего господина Луиса Б. Майера - владельца MGM, знаменитый американский киностудии 30-40-х годов. Она заключает контракт и с новым именем - Хеди Ламарр уезжает в Америку. Кто-то скажет повезло. Может быть. Она писала "Джек Кеннеди всегда говорил мне, Хеди, участвуй. В этом и заключается секрет жизни. Попробуй все. Наслаждайся всем. Встречайся с людьми". Она следовала этому совету и пришла к успеху. В США она снялась в 25 фильмах с 1938 по 1958 год. ей везло с партнерами - Кларк Гейбл, Джеймс Стюарт, Спенсер Трейси и Джуди Гарланд, и ведь это не полный список звезд кино того времени, с которыми ей удалось поработать.
Её красота сыграла с ней злую шутку - ей не доставалось то количество ролей, которые она могла бы сыграть - ее образ выбивался из общего ряда красивых девушек - Хеди не выглядела продавщицей, соседской девчонкой. Но эти пробелы, сложно сказать "неудачи", она восполняла своими изобретательскими талантами. Про это очень мило написано в Вики.
В ее жизни было много судов, много грязи, но думаю по них не стоит говорить, а кого это заинтересует - тот всегда найдет такую гадость.
Давайте просто посмотрим на неё и запомним ее красоту.




